

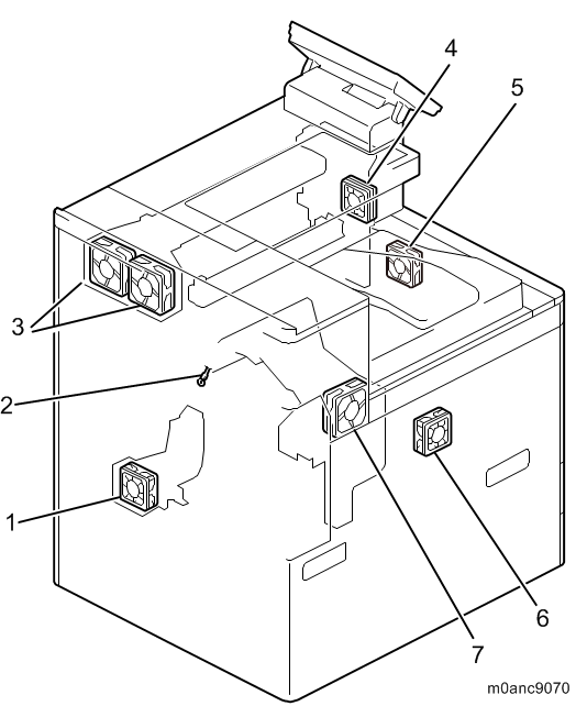
EU/AA:

No. | Description | No. | Description |
|---|---|---|---|
1 | Development bearing cooling fan | 5 | Front Development Cooling Fan |
2 | Temperature sensor | 6 | PSU cooling fan |
3 | Fusing fan (For EU/AA models, there are two fans.) | 7 | Development exhaust fan |
| 4 | Paper exit cooling fan |


EU/AA:

No. | Description | No. | Description |
|---|---|---|---|
1 | Development bearing cooling fan | 5 | Front Development Cooling Fan |
2 | Temperature sensor | 6 | PSU cooling fan |
3 | Fusing fan (For EU/AA models, there are two fans.) | 7 | Development exhaust fan |
| 4 | Paper exit cooling fan |